Shibboleth / SAML2 Login & Registration
Artemis supports user login and registration using SAML2 / Shibboleth. The SAML2 feature is intended for use with Artemis' internal user management and primarily serves as a registration mechanism. With the help of this feature it is possible to store not only the login, name and email, but also the student's matriculation number directly in the database. For each user who registers in the system for the first time, a "normal" artemis user is created and the data is taken from the attributes of the Shibboleth request.
- The feature is activated by the saml2 profile.
- If you use a reverse proxy, you have to redirect the following endpoints to the artemis server: /login and /saml2.
- For testing you can use a preconfigured environment.
If you activate the SAML2 Feature an additional login button will be activated (you can set the text of the button as you like):
The workflow of the SAML2 feature is shown in the following picture:
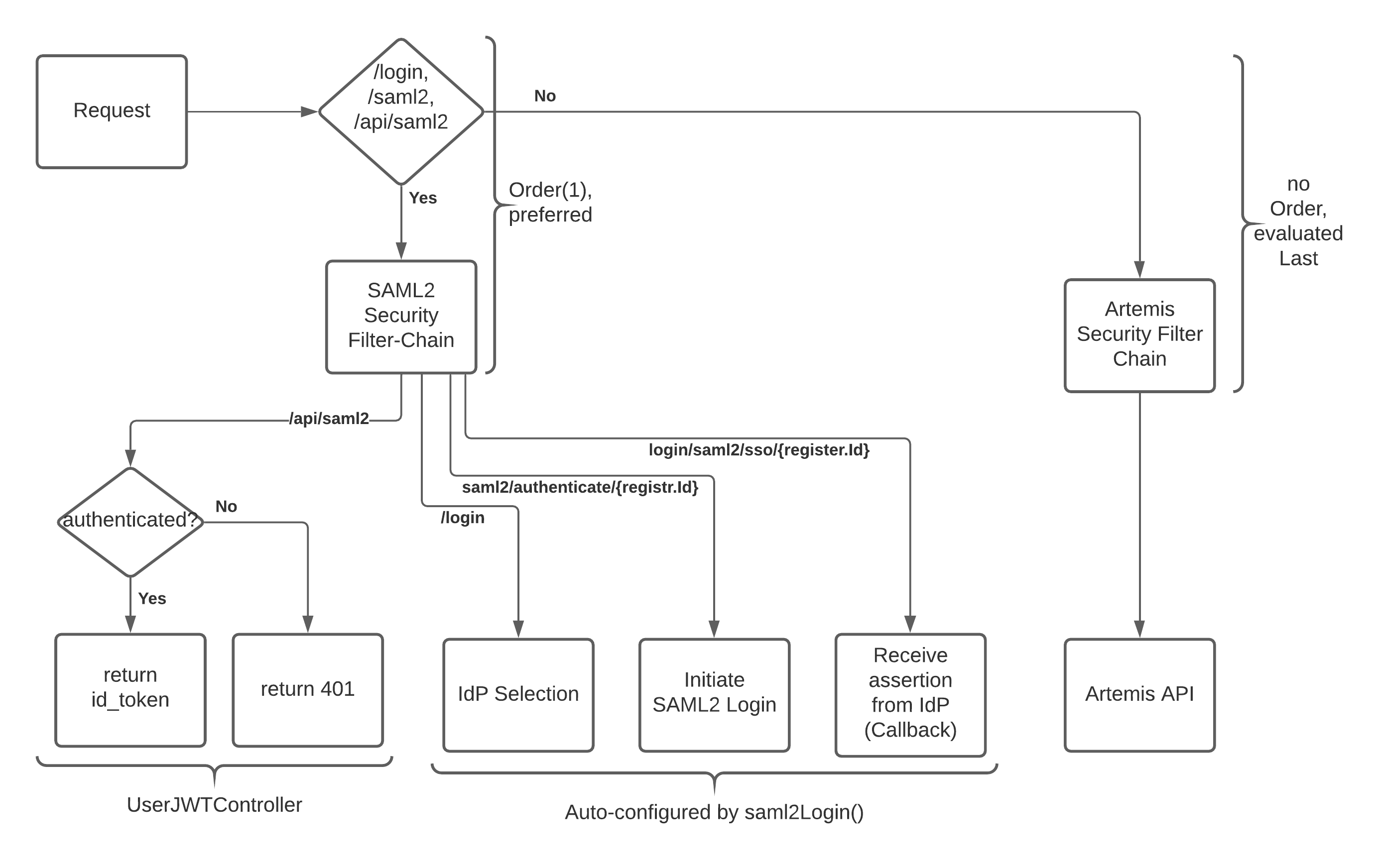
The SAML2 library of Spring Boot is used to create a second security filter chain. The new (and old) security filter chain is presented in the following figure:
The feature is configured by the application-saml2.yml file.
You can configure multiple identity providers.
In addition, the SAML2 feature allows to decide whether a user can obtain a password (see info.saml2.enablePassword).
This app password allows to use the connected services as VCS and CI as usual with the local user credentials.
You can see the structure of the saml2 configuration in the following:
spring:
security:
saml2:
relyingparty:
registration:
REGISTRATION_ID_HERE:
entityId: artemis # optional: by default the entityId is https://<<ARTEMIS_URL_HERE>>/saml2/service-provider-metadata/<<REGISTRATION_ID_HERE>>
signing.credentials: &my-metadata
- private-key-location: file:/opt/artemis/config/shibboleth-sp-key.pem
certificate-location: file:/opt/artemis/config/shibboleth-sp-cert.crt
decryption.credentials: *my-metadata
assertingparty:
metadata-uri: URL_TO_METADATA_HERE
saml2:
# Define the patterns used when generating users. SAML2 Attributes can be substituted by surrounding them with
# curly brackets. E.g. username: '{user_attribute}'. Missing attributes get replaced with an empty string.
# This enables definition of alternative attribute keys when using multiple IdPs. E.g. username: '{uid}{user_id}'.
# User template pattern:
username-pattern: '{first_name}_{last_name}'
first-name-pattern: '{first_name}'
last-name-pattern: '{last_name}'
email-pattern: '{email}'
registration-number-pattern: '{uid}'
lang-key-pattern: 'en' # can be a pattern or fixed to en/de
# It is also possible to only extract parts of the attribute values.
# For each attribute key exactly one regular expression can optionally be defined that is used to extract only parts
# of the received value. The regular expression must match the whole value. It also has to contain a named capture
# group with the name 'value'.
# E.g. when receiving 'pre1234post' from the SAML2 service in the 'uid'-example below, only '1234' will be used when
# replacing '{uid}' in one of the user attributes defined above.
value-extraction-patterns:
#- key: 'registration_number'
# value_pattern: 'somePrefix(?<value>.+)someSuffix'
#- key: 'uid'
# value_pattern: 'pre(?<value>\d+)post'
# String used for the SAML2 login button. E.g. 'Shibboleth Login'
info:
saml2:
# Name of the button to login with SAML2
buttonLabel: 'SAML2 Login'
# Name of the identity provider (e.g., University X Account). Only used for the text at login page
identityProviderName: 'Shibboleth Account'
# Hide the password login form. If true, the password login form is hidden and only the SAML2 login button is shown.
passwordLoginDisabled: false
# Sends a e-mail to the new user with a link to set the Artemis password. This password allows login to Artemis and its
# services such as Jenkins. It also allows the users to use password-based Git workflow.
# It also enables the password reset function in Artemis.
enablePassword: true
# If enabled, the user's first and last name will be synced to the internal artemis user on every login.
syncUserData: false
Example configuration
The SAML2 configuration of Artemis could look like this:
saml2:
username-pattern: '{uid}'
first-name-pattern: '{urn:oid:W.X.Y.Z}'
last-name-pattern: '{urn:oid:W.X.Y.Z}'
email-pattern: '{mail}'
registration-number-pattern: '{matriculationNumber}'
lang-key-pattern: 'de'
info:
saml2:
buttonLabel: 'Shibboleth Login'
enablePassword: false
passwordLoginDisabled: true
identityProviderName: 'Shibboleth Account'
syncUserData: false
spring:
security:
saml2:
relyingparty:
registration:
scc:
# entityId: e.g., artemis ; default: https://<<ARTEMIS_URL_HERE>>/saml2/service-provider-metadata/<<REGISTRATION_ID_HERE>>
signing.credentials: &scc-metadata
- private-key-location: file:/config/shibboleth-sp-key.pem
certificate-location: file:/config/shibboleth-sp-cert.crt
decryption.credentials: *scc-metadata
assertingparty:
metadata-uri: https://www.aai.dfn.de/fileadmin/metadata/dfn-aai-local-148-metadata.xml
The SAML2 configuration for Artemis at your IT department could look like the following.
However, you can also download the metadata from
https://<<ARTEMIS_URL_HERE>>/saml2/service-provider-metadata/<<REGISTRATION_ID_HERE>>.
<?xml version="1.0" encoding="UTF-8"?>
<md:EntityDescriptor xmlns:md="urn:oasis:names:tc:SAML:2.0:metadata"
entityID="https://<<ARTEMIS_URL_HERE>>/saml2/service-provider-metadata/<<REGISTRATION_ID_HERE>>"
xmlns:mdui="urn:oasis:names:tc:SAML:metadata:ui">
<md:SPSSODescriptor AuthnRequestsSigned="false" WantAssertionsSigned="false"
protocolSupportEnumeration="urn:oasis:names:tc:SAML:2.0:protocol">
<md:KeyDescriptor use="signing">
<ds:KeyInfo xmlns:ds="http://www.w3.org/2000/09/xmldsig#">
<ds:X509Data>
<ds:X509Certificate>CERT_HERE</ds:X509Certificate>
</ds:X509Data>
</ds:KeyInfo>
</md:KeyDescriptor>
<md:KeyDescriptor use="encryption">
<ds:KeyInfo xmlns:ds="http://www.w3.org/2000/09/xmldsig#">
<ds:X509Data>
<ds:X509Certificate>CERT_HERE</ds:X509Certificate>
</ds:X509Data>
</ds:KeyInfo>
</md:KeyDescriptor>
<md:AssertionConsumerService
Binding="urn:oasis:names:tc:SAML:2.0:bindings:HTTP-POST"
Location="https://<<ARTEMIS_URL_HERE>>/login/saml2/sso/<<REGISTRATION_ID_HERE>>"
index="1"/>
</md:SPSSODescriptor>
</md:EntityDescriptor>


